一、應用范圍:
???????
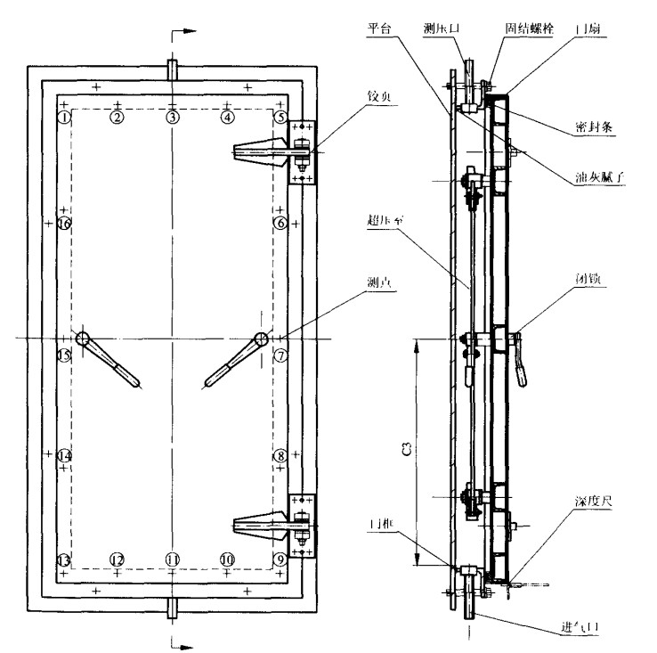
濟南思明特專業研生產人防門密閉以及密封門漏氣量測量,產品執行標準RFJ01-2002 人民防空工程防護設備產品質量檢驗與施工驗收標準與RFJ 04-2009 人民防空工程防護設備試驗測試與質量檢測標準,用于人防門的密閉性測量以及氣密性檢測。測量時,通過向門內超壓室充氣,使微壓計讀數穩定在預設值(如50Pa或100Pa),然后讀取流量計的數值,即為門的漏氣量。測量過程中需要注意各個環節的準確性和可靠性,以確保測量結果的準確性。
1、設備配置有超壓室。
2、采用流量法檢測。
3、漏氣量的檢測配置有專用的數據采集軟件,可顯示人防門的漏氣量,并以曲線形式顯示出去,可以輸出試驗報告,保存試驗數據。
1、進氣壓力范圍:0.4Mpa
2、控制方式:計算機控制
3、微差壓計范圍:50-200pa
4、工作介質:空氣。
5、流量測試要求范圍:防護密閉門:0.172-1.381m3/h,密閉門:0.081-1.377m3/h


四、型號選擇
產品名稱 |
人防防護密閉門和密封門漏氣量測量機 |
產品型號 |
SUP_RFMSY |
基本原理 |
通過將超壓室和人防門進行密封,然后將超壓室內通過一定壓力的壓縮空氣,檢測流量計的數值 |
性能參數 |
流量范圍 |
防護密閉門:0.172-1.381m3/h,密閉門:0.081-1.377m3/h。 |
入口壓力 |
0.4MPa |
微壓計 |
200pa |
壓力傳感器 |
試驗壓力采樣頻率50ms |
試驗介質 |
空氣 |
壓力曲線顯示方式 |
計算機 |
測試樣品 |
1路 |
超壓室密封 |
膠條 |
結構組成 |
壓力控制裝置 |
適用范圍 |
單開門、雙開門 |
qimishiyanji-q
氫能源汽車不銹鋼無縫管氣密試驗臺主要用于氫能源汽車無縫管、空調銅管、直縫鋼管等管材的氣密性檢測。本試驗機操作簡單方便,設有一鍵啟動功能,試件安裝后,只需按下一個按鈕,試驗軟件就會自動完成試驗。

濟南思明特科技有限公司研發的濾芯氣密性檢測儀主要用于金屬濾芯,活性炭濾芯,空氣濾芯等各類濾芯的氣密性檢測。本設備采用差壓檢測測試方法。設備能智能測試并判斷產品的密封性質量,測試參數及泄露部位可以方便的讀取。

低溫閥門密封件密封性能檢測設備臺主要由低溫試驗槽、介質控制系統、狀態檢測系統、低溫介質儲罐、試驗介質罐、低溫連接管道等組成。用于對閥門密封件密封性能的測試,尤其是低溫環境下的測試,可進行工裝和閥測試。本設備具備一些擴展功能,可進行其他設備低溫密封件的相關測試,例如低溫液壓油缸、 軍工設備等。

電器殼體防水試驗機主要用于防爆電器殼體、汽車燈具、防水條帶等各種防水、防滲漏有特別要求的產品和設備的防水檢測,以評價其抗水能力或密封性能,對其進行可靠性鑒定或驗收。

散熱器氣密檢測設備主要用于散熱器的氣密性檢測。本設備由PLC控制氣缸自動夾緊工件完成定位,定位牢固、準確,對工件無損傷。當操作者按下檢測開始按鈕后,工裝定位機構自動夾緊定位,定位點需要在水室兩端,防止檢測過程中對芯體的損傷。工裝配置位置傳感器,可以檢測芯體是否安放到位,若未安裝到位則工裝定位不動作,設備蜂鳴報警。

氫系統氣密性系統主要用于氫系統零部件的氣密性能檢測,采用氣動增壓泵,通過低壓壓縮空氣驅動,產生高壓氣體輸出,對測試件進行氣密封試驗。適用于大批量氣密檢測,在線自動化氣密性測試。 產品用于氫能源管路的氣密檢測。測試壓力80MPa。

塑料閥門密封性試驗機主要用于塑料電磁閥、塑料球閥、塑料呼吸閥、塑料背壓閥、塑料蝶閥、塑料閘閥、塑料截止閥等塑料閥門的密封檢測。具有多項自動安全保護及試驗異常報警,安全性極高。

空氣彈簧氣密試驗機主要由機體、氣路系統、檢測裝置和電氣控制系統組成.氣路系統包括壓力風源、氣路控制元件、管路等,設備自帶風源(移動空壓機)。電氣控制系統包括CPU中央處理器、按鍵開關及顯示器等。能對空氣彈簧進行氣密性試驗及保壓試驗。

氣密檢測設備主要用于各類閥門、管材、殼體、設備采用壓縮空氣或者氮氣作為氣密檢測試驗介質,系統可以配置相關的氣密檢測的夾具用于被測件的密封檢測,并配置相應的試驗測試軟件用于實時顯示壓力曲線,輸出試驗報告,保存試測試數據。

|